News
BangaloreOne on its toes
An e-governance initiative, where services like bill payments, ticket bookings can be done, is catching up in the city.
Cops fired in self defence at Velachery: Jaya
The Tamil Nadu CM said police retaliated to protect public and themselves as robbers continued to fire despite warning.
TN: 19,620 cops to be recruited soon
A total of 30,000 personnel will be recruited through the TN Uniformed Services Recruitment Board.
Vikram's 'Karikalan' to restart in June
With Vikram concentrating on 'Thaandavam' and 'David', it was buzzed that his entertainer 'Karikalan' was shelved.
Tamil film 'Raatinam' to be released on May 11
'Raatinam' will be released on May 11. The audio of the film was launched on April 25.
Mobile recording charge fabricated: Mufti Kazmi
Mufti Shameem Kazmi, a key Team Anna member, was expelled from the group recently for allegedly recording secretly the proceedings of a core committee meeting.
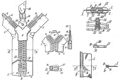
How the Gideon Sundback zipper works
Excerpts from Gideon Sundback's patent for the 'separable fastener' detailing how his invention actually works.
K'taka: SC stays order on Bidari's appointment
The Supreme Court asked the Karnataka High Court to examine afresh the matter and dispose it of before May 31.
'Satyamev Jayate' made my life tough: Kiran Rao
Aamir Khan's wife Kiran Rao feels that her life has become tough because the actor has started bringing work home.
VS urges Governor to sack Calicut varsity VC
THIRUVANANTHAPURAM: Opposition Leader V S Achuthanandan has demanded the immediate intervention of Governor H R Bharadwaj to..
Anti-filariasis drive to begin
KOCHI: The government has kick-started a massive anti-filariasis drive across the city, owing to the high incidence of cases of th..
Police top brass under CBI scanner
KOCHI: The statement given by DySP Santhosh Nair to the CBI in connection with the Unnithan murder attempt case is all set to ruff..
Plea for more power from Centre goes unheaded
BHUBANESWAR: Repeated requests by Chief Minister Naveen Patnaik to the Union Ministry of Power for additional allocation of power ..
Biker cops too fast for goons
VELLORE: Police personnel attached to the Blue Brigade and Green Brigade, which were formed three months ago for round-the-clock s..
BJP oldies demand cabinet reservation
BANGALORE: Before the new-found bonhomie between former CM B S Yeddyurappa, his successor D V Sadananda Gowda and state BJP presid..
Kareena's new look, Akshay loves his moustache
Kareena Kapoor was lately seen with director Madhur Bhandarkar on the sets of their upcoming film 'Heroine'.